Công cuộc nghiên cứu cải tiến chuột máy tính có thể nói là vẫn chưa dừng lại. Những thiết bị ngoại vi nhỏ nhắn này không đơn thuần chỉ là những thiết bị nhập liệu (input device) mà còn có thể dùng để xác thực người dùng trong tương lai.
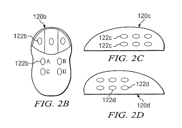
Mới đây, Glenn Kaufman - kỹ sư an ninh mạng của Công ty Raytheon (Mỹ) đã thiết kế một mẫu chuột máy tính được tích hợp các cảm biến áp suất sinh trắc học lấy cảm hứng từ các loại súng thông minh (smart gun) có thể nhận diện chủ nhân của mình. Thiết kế của anh đã chính thức được công nhận và cấp bằng sáng chế số No. 8.762.734. Điều này có nghĩa là các cảm biến áp suất sinh trắc học sẽ sớm có thể được tích hợp trên bất kỳ vị trí nào trên thân chuột để ghi nhận áp lực từ tay người dùng.
Hình thức xác thực người dùng bằng áp lực này có thể nói là an toàn và khó bị hack hơn so với cách nhận diện khuôn mặt, võng mạc hay dấu vân tay - vì dữ liệu dùng để xác thực dựa trên các tín hiệu thần kinh đã được số hóa.
Tác giả thiết kế mẫu chuột hoàn toàn mới này tin rằng, mô hình xác thực người dùng thông qua cách họ cầm chuột có thể là một lựa chọn thay thế cho các cách xác thực người dùng sử dụng các mô hình vật lý khác. Vì theo anh, các cảm biến áp suất sinh trắc học không chỉ phân biệt tốt áp lực tạo ra từ tay người sử dụng mà còn xác định chính xác vị trí của bàn tay trong hệ trục tọa độ.
Giải thích cụ thể hơn, tác giả chuột tích hợp các cảm biến áp suất sinh trắc học cho biết thêm, các model được trang bị các cảm biến này có thể ghi nhận các tín hiệu thần kinh của người dùng. Những dữ liệu được ghi nhận này sẽ được dùng làm mẫu đối chiếu cho quá trình xác thực chủ nhân của một chiếc máy tính sau đó.
Được biết, mẫu chuột tích hợp cảm biến áp suất sinh trắc học này đã được thử nghiệm trên 10 người và tỷ lệ thất bại trong việc xác thực người dùng là 1/10.000. Kết quả này tương đương với tỷ lệ thất bại của các loại súng thông minh có tích hợp cảm biến áp suất độ nhạy cao ở báng súng.
Tuy nhiên, tác giả mẫu chuột tích hợp cảm biến áp suất sinh trắc học trên cho hay, anh không có ý định dùng sản phẩm của mình để thay thế các phương pháp xác thực hiện tại. Mẫu chuột này cũng được cho là sẽ không được sản xuất hàng loạt. Việc đăng ký bằng sáng chế cho ý tưởng chuột mới chỉ nhằm cho thấy không chỉ chuột máy tính - mà còn cả những thiết bị khác như joystick, remote hay màn hình cảm ứng cũng có thể được trang bị loại cảm biến áp suất sinh trắc học trên.
 
                 
                             Về trang trước
                        Về trang trước Về đầu trang
                            Về đầu trang


















